Computer >> Computer tutorials >  >> Smartphones >> Google

Rollable Pixel: News, Price, Release Date, Specs, and Rumors

Rollable phones are inevitable in the evolution of expanding screen sizes, and it might just be how Google decides to build a Pixel in the future. We’re still really early in the rumor stages—in fact, there are basically zero rumors—but that won’t stop us from speculating what a Pixel Roll might be like.

When Will the Rollable Pixel Be Released?

It's unclear right now, but probably not until after the release of the Pixel Fold, another screen-extending device expected from the company. Adding a rollable phone to the lineup is quite aggressive.

Plus, the latest nugget of news that points to this device being a possibility is a tweet from June 2021:

Ross Young is a display market analyst with DSCC, which stated in early 2021 that rollable phones are coming:

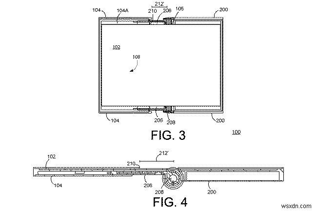
We also know from a patent granted in 2007 that Google has its eyes on an "expandable display having rollable material."

Although that particular invention focuses on computer screens, something similar could be adapted for phones, which is clear in a patent granted in 2020 for an "electronic device with flexible display."

Rollable Pixel: News, Price, Release Date, Specs, and Rumors

Release Date Estimate

It's obvious Google is narrowing in on devices with a flexible display, it's just not clear when it'll happen. We’ll follow Ross Young’s rough prediction for now and put the Pixel Roll’s release date at late 2022 or early 2023.

Rollable Pixel Price Rumors

A rollable phone results in something similar to a fully extended foldable phone where, when all the screen real estate is open and laid out, you have more operating room to do whatever you want.

But unlike a foldable phone which just...folds, a rollable phone uses a motorized mechanism to push the screen to its extended state. This, along with its flexible display, could end up more expensive to manufacture than the hinge used in a foldable device.

Then again, some foldable phones have multiple displays, whereas a rollable phone can be just one large, flexible screen that unravels from the device's body like a scroll.

Unfortunately for us users, a foldable phone is already more expensive than a traditional phone, so we should expect to spend more for a rollable Pixel, too.