Computer >> Computer tutorials >  >> Smartphones >> Samsung

Samsung Galaxy S21 Price, Release Date, and Specs

The Galaxy S21 and S21+ are Samsung's latest flagship smartphones.

When Is the Samsung Galaxy S21 Available?

Rumors, including one from Sammobile.com, were spot on about an announcement and launch in January 2021. The S21 series is available as of January 29, just over two weeks after the Samsung Unpacked event.

Samsung Galaxy S21 Pricing and Models

The cost of the S21 series starts at $799, $200 cheaper than the S20. There are three models: the S21 ($799 and up), S21+ ($999 and up), and S21 Ultra ($1199 and up). The Ultra model is the most high-end with the best specs, including a fancy display and a camera with all the bells and whistles. The Plus version sits in the middle, with a slightly smaller display than the Ultra, and a less advanced camera. The base model has the smallest screen, but the same camera as the S21+.

All three models support 5G wireless.

Pre-Order Information

Pre-orders ended on January 28. All three models ship on January 29 and are available for purchase from major carriers, retailers, and Samsung.com.

The Latest News about the Samsung Galaxy S21

You can get all the latest news about Samsung smartphones from Lifewire; here are more ways to learn about the new Galaxy phones.

Galaxy S21 through S21 Ultra: Everything Samsung announced SAMSUNG GALAXY S21, S21 PLUS, AND S21 ULTRA FIRST LOOK Will Galaxy S21 Phones Tempt Us with Cameras and Styluses? Samsung Galaxy S Phones: What You Need to Know

Samsung Galaxy S21 Key Features

The most intriguing rumor was that the S21 would have six rear cameras. In reality, it has four: Ultra-wide, wide, and two telephoto lenses.

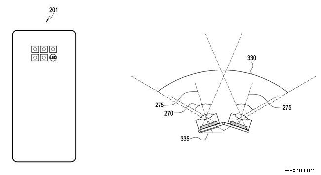
In mid-2020, a Samsung patent surfaced of a camera design with six lenses: five wide-angle and one telephoto. The patent images also show they are tiltable, enabling more artistic photos with the bokeh effect and making it easier to take photos in low light. Perhaps we'll see this in the next Galaxy smartphone.

Samsung Galaxy S21 Price, Release Date, and Specs

The Samsung S21 smartphones also have:

  • 5G. Not surprisingly, all three models support 5G, which promises faster speed.
  • S Pen support. The S21 Ultra supports the S-Pen, but it won't have an S Pen slot.
  • No charging cable included. Since so many consumers already have the proper cables, the company might stop including them to reduce waste. Android phones have been using USB-C for quite a while, so this makes sense.
  • No earbuds included. Similarly, since Samsung has been shipping earbuds with every phone for a long time, consumers likely have them in drawerfuls.

Samsung Galaxy S21 Series Specs and Hardware

These are the official specs for the Samsung Galaxy S21 series, which match many of the rumors and leaks leading up to the event.

In addition to the colors listed below, Samsung.com offers colors for each model that aren't available anywhere else.

Spec S21 S21+ S21 Ultra Display 6.2-inch Flat FHD+ Dynamic AMOLED 2X 6.7-inch Flat FHD+ Dynamic AMOLED 2X 6.8-inch Edge QHD Dynamic AMOLED 2X Resolution 2400 x 1080 pixels 2400 x 1080 pixels 3200 x 1440 pixels Processor 64-bit Octa-Core Processor 64-bit Octa-Core Processor 64-bit Octa-Core Processor Storage 128GB/256GB 128GB/256GB 128GB/256GB/512GB Main Camera Ultra-wide 12MP; Wide-angle 12MP; Telephoto 64MP Ultra-wide 12MP; Wide-angle 12MP; Telephoto 64MP Ultra-wide 12MP; Wide-angle 108MP; Telephoto dual 10MP Selfie Camera 10MP 10MP 40MP Bluetooth 5.0 5.0 5.0 USB USB-C USB-C USB-C Colors Phantom Violet, Phantom Gray, Phantom Pink, and Phantom White Phantom Violet, Phantom Silver, and Phantom Black Phantom Silver and Phantom Black

What Version of Android Does the Galaxy S21 Have?

The Galaxy S21 ships with Android 11 pre-installed and Samsung's One UI (version 3) overlay.